Još jedan uređajčić koji može da pomogne pri opravkama. Jednostavan za samogradnju a pomaže veoma mnogo. Bar meni je često pomogao. Svako ima svoj pristup ispitivanju komponenata. Po meni najlakši i jednostavniji način ispitivanja izvaditi komponentu i postaviti u simulator ili osnovno kolo u kome možemo videti kako u stvari componenta radi. Iz iskustva najlakši način je odlemiti komponentu postaviti u podnožje ispitati i ponovo zalemiti (zamenuti neispravn deo). Koliko god se trudio da ispitam komponentu na samoj ploči misleći da je brže i jednostavnije pokazalo mi se da je u stvari gore opisani način odlemljavanja i provere najlakši i najpouzdaniji način.
https://www.youtube.com/watch?v=89w5PosiDG0
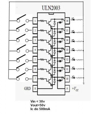
Ispitivač ULN2003
Urednik: alexa_pg
Pravila foruma
Praktikujemo da na kraju opišemo kako smo rešili problem. Zatim zatvorimo temu >UPUTSTVO<
Praktikujemo da na kraju opišemo kako smo rešili problem. Zatim zatvorimo temu >UPUTSTVO<
-
RadovanPetkovic
- _

- Postovi: 58
- Pridružen: 07 Avg 2018, 17:18
- Location: kikinda
- Specialty: automotive
Ispitivač ULN2003
- Prilog
-
- s-l640.jpg (26.96 KiB) Pregledano 1596 puta.
- Stolle
- Preminuo
- Postovi: 19098
- Pridružen: 12 Avg 2006, 23:35
- Location: Srbija
- Specialty: tv-multimedia
- Lokacija: Dimitrovgrad
Re: Ispitivač ULN2003
Ove sitne alatčice znaju da budu vrlo korisne ponekad.
Ja ovo imam na nekom kineskom testeru komponenti. Kao i za neke operacione pojačivače i ostalo.
Kad je komponenta dobra, on ispiše oznaku na displeju. ULN2003 u ovom slučaju.
E sad, da li proveri baš svaki ulaz-izlaz, nisam siguran.
Ja ovo imam na nekom kineskom testeru komponenti. Kao i za neke operacione pojačivače i ostalo.
Kad je komponenta dobra, on ispiše oznaku na displeju. ULN2003 u ovom slučaju.
E sad, da li proveri baš svaki ulaz-izlaz, nisam siguran.
"29 poslednjih dana u mesecu je najteže"
-
- Slične teme
- Odgovori
- Pregledano
- Zadnji post
-
- 10 Odgovori
- 13459 Pregledano
-
Zadnji post napisao kefaja
22 Mar 2013, 00:18
-
- 0 Odgovori
- 1812 Pregledano
-
Zadnji post napisao RadovanPetkovic
02 Nov 2019, 17:14
