CRT TV
FIRMA: Schneider
MODEL: MD 7078 VTS
CHASSIS: TV 9.6 PAL
***************************************
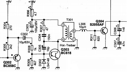
SIMPTOMI BC618 (darlington)u kratkom spoju
DETALJAN OPIS KVARA i PREDUZETE RADNJE:
Nakon ukljucenja tv radi jedno 20-30 sekundi,dok BC618 ne bude talo vruc da crkne.Menjao sam elko 100uF za napajanje BC618,i10uF u krugu baze ,poelemiookolinu tranzistora,OST/West stepen radi dobro,trafo izvaden,i izmeren,dobar je Q302 BC858 isto dobat,C304 150nF,i C305 18pFnisam menjao jer momentalno nemam,da bude trafo T301 u kvaru to se retko desava,stavio sam i nov S2055AF,isto se desava.BC618 dobije napajanje od+15V preko otpornika R306 4.7oma,koji isto crkava sa tranzistorom.
*** NAPOMENA ***
- Ovo je automatski upitnik koji trebate popuniti prilikom otvaranja nove teme.
- Tekst u zagradama, kao i zagrade, obrišite i unesite tražene podatke VELIKIM SLOVIMA.
-"Simptomi" i "Detaljan opis kvara" pišite normalno.
- Naslov teme treba da bude u formatu: PROIZVOĐAČ, MODEL, KRATAK OPIS KVARA.
- Ako za pojedine podatke ne znate odgovor tada napišite "NE ZNAM")
- Ovu kompletnu napomenu takođe obrišite.
Hvala što pomažete da nam forum bude uredan.
Schneider MD7078 VTS
Pravila foruma
Naslov teme treba da bude u formatu: PROIZVOĐAČ, MODEL, KRATAK OPIS KVARA
Nakon rešenog kvara zatvoriti temu >> >UPUTSTVO< u suprotnom ništa ne činiti.
HOME -- SERVISERI -- DALJINSKI -- RAZNA UPUTSTVA
Naslov teme treba da bude u formatu: PROIZVOĐAČ, MODEL, KRATAK OPIS KVARA
Nakon rešenog kvara zatvoriti temu >> >UPUTSTVO< u suprotnom ništa ne činiti.
HOME -- SERVISERI -- DALJINSKI -- RAZNA UPUTSTVA
- alexa_pg
- Site Admin

- Postovi: 6119
- Pridružen: 22 Avg 2006, 08:10
- Location: Podgorica
- Specialty: tv-multimedia
Re: Schneider MD7078 VTS
Iz teksta nisam razumio da li si C304 mijenjao ili je na mjerenje dobar. Ugradio bih novi jer mi "miriše" da je on neispravan.
Uradi kako piše u napomeni!
Uradi kako piše u napomeni!
*** NAPOMENA ***
...
- Naslov teme treba da bude u formatu: PROIZVOĐAČ, MODEL, KRATAK OPIS KVARA.
- Ovu kompletnu napomenu takođe obrišite.
"I ja volim ljude ali ih sve manje podnosim"
Re: Schneider MD7078 VTS
Poz,tacno tako C304 150nF je bio u prekidu,zamenom tv radi dobro.Hvala
- alexa_pg
- Site Admin

- Postovi: 6119
- Pridružen: 22 Avg 2006, 08:10
- Location: Podgorica
- Specialty: tv-multimedia
Re: Schneider MD7078 VTS
Lijepo je što si riješio aparat ali nije dobro što nisi uradio ispravku svog posta po preporuci urednika.
Još jednom, radi dalje saradnje ispravi svoj prvi post.
Kad se završi sa popravkom, zaključi temu po uputstvu http://www.fanzo.org/forum/viewtopic.ph ... 37#p285137
Još jednom, radi dalje saradnje ispravi svoj prvi post.
Kad se završi sa popravkom, zaključi temu po uputstvu http://www.fanzo.org/forum/viewtopic.ph ... 37#p285137
"I ja volim ljude ali ih sve manje podnosim"
-
- Slične teme
- Odgovori
- Pregledano
- Zadnji post
-
-
TV SCHNEIDER Chassis 176 (17.6) - Blokira (RESENO)
napisao milans01 » 25 Feb 2008, 11:24 » u Servisiranje CRT Televizora - 8 Odgovori
- 1412 Pregledano
-
Zadnji post napisao milans01
04 Mar 2008, 18:36
-
-
-
TV SCHNEIDER STV550 Chassis 11AK19-5 - Ne startuje
napisao tvmen » 13 Mar 2008, 19:55 » u Servisiranje CRT Televizora - 31 Odgovori
- 5504 Pregledano
-
Zadnji post napisao tvmen
22 Mar 2008, 18:24
-
-
-
TV SCHNEIDER STV7012 Chassis STV12 - Bezi sa kanala
napisao stojkePN » 08 Avg 2008, 23:44 » u Servisiranje CRT Televizora - 14 Odgovori
- 2362 Pregledano
-
Zadnji post napisao rubin_miki
18 Avg 2008, 02:25
-
-
-
TV SCHNEIDER SCINEMA 28100T - Potreban dump
napisao Mcu » 14 Avg 2008, 01:55 » u Servisiranje CRT Televizora - 1 Odgovori
- 633 Pregledano
-
Zadnji post napisao nec
14 Avg 2008, 06:14
-
-
-
TV SCHNEIDER Chassis DTV101 - Slika deformisana (RESENO)
napisao lnicks » 16 Avg 2008, 20:55 » u Servisiranje CRT Televizora - 8 Odgovori
- 1548 Pregledano
-
Zadnji post napisao lnicks
21 Avg 2008, 09:04
-
-
-
TV SCHNEIDER STV512 Chassis TV6 - Potrebna shema (REŠENO)
napisao markovicg1 » 13 Okt 2008, 13:07 » u Servisiranje CRT Televizora - 6 Odgovori
- 1568 Pregledano
-
Zadnji post napisao markovicg1
23 Okt 2008, 14:50
-
-
-
TV SCHNEIDER SCENARO2819 TV17 17.7 Zvuk [REŠENO]
napisao miligor » 18 Dec 2008, 10:59 » u Servisiranje CRT Televizora - 31 Odgovori
- 7353 Pregledano
-
Zadnji post napisao miligor
31 svi 2015, 00:22
-
-
-
TV PALADIUM TV91 Chassis Schneider 9.1 - Slika (RESENO)
napisao majstorr » 09 svi 2009, 14:44 » u Servisiranje CRT Televizora - 36 Odgovori
- 5143 Pregledano
-
Zadnji post napisao majstorr
18 svi 2009, 18:33
-

