FIRMA:Sony
MODEL:KVE2521A
CHASSIS(oznaka šasije):kako se oznacavaju Sony sasije,ne mogu na ploci da pronadjem nista osim ovoga sto sam upisao kao "PCB"
PCB(oznake na štampanoj ploči):T637-20-12
MCU(procesor):SDA20560
EEPROM:
VERTIKALA:
AUDIO:
VIDEO:
SMPS (mreža):TEA2260 i 2SD1548
FBT (vn trafo):
TUNER:
KVAR:NE RADI
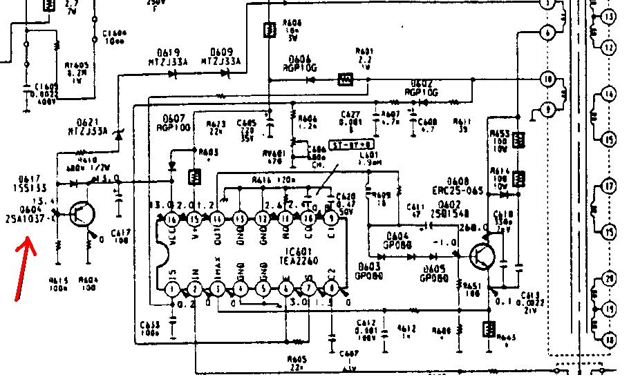
OPIS KVARA:televizor se uopste ne ukljucuje. U mrezi ima kolo tea2260 i tranzistor 2sd1548. kada sam izmerio d1548 pokazalo je spoj b-e. Zamenio sam ga sa bu2508. Tv ponovo nije hteo da se ukljuci pa sam kuenuo da meriv dalje i sa donje strane ploce sam naisao na tranzistor cija je oznaka na ploci Q604 ,u pitanju je smd tranzistor,cije su nozice vezane za kolo tea2260. Da li neko od kolega ima shemu ili zna koji je truanzistor u pitanju,te da li ste imali ovakvih problema sa ovim tv-om?
SONY KVE2521A NE UKLJUCUJE SE (RESENO)
Pravila foruma
Naslov teme treba da bude u formatu: PROIZVOĐAČ, MODEL, KRATAK OPIS KVARA
Nakon rešenog kvara zatvoriti temu >> >UPUTSTVO< u suprotnom ništa ne činiti.
HOME -- SERVISERI -- DALJINSKI -- RAZNA UPUTSTVA
Naslov teme treba da bude u formatu: PROIZVOĐAČ, MODEL, KRATAK OPIS KVARA
Nakon rešenog kvara zatvoriti temu >> >UPUTSTVO< u suprotnom ništa ne činiti.
HOME -- SERVISERI -- DALJINSKI -- RAZNA UPUTSTVA
SONY KVE2521A NE UKLJUCUJE SE (RESENO)
Zadnja izmena: vedranc, dana 29 Jun 2009, 14:16, ukupno menjano 1 put.
ko zeli pronaci ce nacin,ko ne zeli pronaci ce izgovor
Re: SONY KVE2521A NE UKLJUCUJE SE
SASIJA
AE1C
KVAROVI
http://www.tehnomagazin.com/TV_Repair/S ... hassis.htm
SEMA
http://fileshare.eshop.bg/index.php?wha ... tring=AE1C
Q604
2SA1037
TRANZISTOR 2SA 1037 Smd
Karakteristike: MIN , RA , 140MHz , 50V , 0,01A , 0,3W
Kućište: SOT-23
Tip: Si-P
Zamene: BC 860
KVAROVI
SEMA
Q604
TRANZISTOR 2SA 1037 Smd
Karakteristike: MIN , RA , 140MHz , 50V , 0,01A , 0,3W
Kućište: SOT-23
Tip: Si-P
Zamene: BC 860
Sto vise ucim sve vise vidim koliko neznam :plaz:
Re: SONY KVE2521A NE UKLJUCUJE SE (RESENO)
televizor je proradio ,zamenjeni su elektroliti u mrezi,tranzistor 2sd1037 (bc860) i kolo tea2260. Sada me zanima ima li neko nekakvo korisnicko upustvo za ovaj model jer su sve oznake sa daljinskog izbrisane pa se ne snalazim bas sa bojom ,kontrastom i trazenjem programa...
ko zeli pronaci ce nacin,ko ne zeli pronaci ce izgovor
- Stolle
- Preminuo
- Postovi: 19098
- Pridružen: 12 Avg 2006, 23:35
- Location: Srbija
- Specialty: tv-multimedia
- Lokacija: Dimitrovgrad
Re: SONY KVE2521A NE UKLJUCUJE SE (RESENO)
Pogledaj daljinske: http://fanzo.org/remote/?page_id=51
"29 poslednjih dana u mesecu je najteže"
-
- Slične teme
- Odgovori
- Pregledano
- Zadnji post
-
-
TV VENUS Chassis 11AK30 - Ne ukljucuje (RESENO)
napisao ljube » 06 Dec 2008, 00:52 » u Servisiranje CRT Televizora - 8 Odgovori
- 4102 Pregledano
-
Zadnji post napisao Majstor Duja
13 Nov 2013, 15:29
-
-
-
TV PHILIPS Chassis GR1AX - Ne ukljucuje pretragu (RESENO)
napisao majstorr » 25 svi 2009, 00:12 » u Servisiranje CRT Televizora - 9 Odgovori
- 1989 Pregledano
-
Zadnji post napisao krllebg
29 svi 2009, 01:03
-
-
-
Philips 29PT8606/12 Ukljucuje zastitu i blinka led *RESENO*
napisao stojkePN » 26 Feb 2010, 15:05 » u Servisiranje CRT Televizora - 9 Odgovori
- 2865 Pregledano
-
Zadnji post napisao Majstor Duja
20 Mar 2014, 10:41
-
-
-
CRT TV,SAMSUNG, CW29M066VGXXEC, K55A, NE UKLJUČUJE SE,
napisao djordje1961 » 31 Jul 2012, 00:33 » u Servisiranje CRT Televizora - 14 Odgovori
- 2967 Pregledano
-
Zadnji post napisao djordje1961
31 Avg 2012, 03:38
-
-
-
CROWN 21T07 ETE2 JUG7820011 Ne ukljucuje
napisao DZoni » 20 Okt 2012, 23:34 » u Servisiranje CRT Televizora - 6 Odgovori
- 2772 Pregledano
-
Zadnji post napisao Darko Pavloski
13 Okt 2014, 21:17
-
-
-
TV SONY KV29FX20D Chassis FE1A - Mreza (REŠENO)
napisao sdb » 09 Jul 2008, 22:05 » u Servisiranje CRT Televizora - 8 Odgovori
- 1947 Pregledano
-
Zadnji post napisao sdb
14 Jul 2008, 09:38
-
-
-
TV SONY KVX2581 Chassis BE3B - Blinka 6 puta (RESENO)
napisao DraganJovanovic » 29 Jul 2008, 14:04 » u Servisiranje CRT Televizora - 4 Odgovori
- 1850 Pregledano
-
Zadnji post napisao DraganJovanovic
29 Jul 2008, 21:07
-
-
-
TV SONY KV2184MT Chassis GP1A - problem tuner (RESENO)
napisao zozontv1 » 06 Avg 2008, 06:33 » u Servisiranje CRT Televizora - 7 Odgovori
- 1450 Pregledano
-
Zadnji post napisao zozontv1
12 Sep 2008, 07:02
-


