Pregrejanje i pothladjenje

Forum za klime.

Urednici: goranfri,nike,sim,Honorarac

Pravila foruma
BT-expert info - BTexpert forumi
U naslov teme prvo pisati ime proizvođača, zatim oznake modela bez crtica i razmaka i kratak opis kvara. U post obavezno upisati ID ili EAN oznake sa poleđine aparata u suprotnom tema će biti obrisana.
Praktikujemo da na kraju opišemo kako smo rešili problem. Zatim zatvorimo temu >UPUTSTVO<
PRILIKOM POSTAVLJANJA PITANJA U VEZI ELEKTRONSKOG MODULA OBAVEZNO POPIŠITE SVE OZNAKE sa ploče i sa nalepnica, dobro bi došla i po koja fotografija.
Avatar
nike
gxu
gxu
Postovi: 2898
Pridružen: 21 Mar 2010, 11:35
Location: Split HR
Warranty service: Atosa Arisco Ozti Fimar Roller-Grill Systemair Fiocchetti Prismafood Cappone Hendi Omniwash Icetech ItalI-Ice
Contact person: NIKE
Specialty: whitegoods
Lokacija: Split, HR

Re: Pregrejanje i pothladjenje

Post napisao nike » 05 Dec 2015, 08:27

Dečki (zagorski izraz za muškarčine ;) ), ima tema i tema o pregrijanju i pothlađenju i nastanku svemira u expert dijelu foruma. Nije forum samo ovo šta vi vidite. Dokažite se kao experti, pa će te imati pristup i tome!
"Blago budalama, njima je lako jer ne misle tako!" PV

Soko
bela tehnika
bela tehnika
Postovi: 217
Pridružen: 16 Jan 2012, 09:28
Location: Beograd
Specialty: whitegoods
Lokacija: Serbia

Re: Pregrejanje i pothladjenje

Post napisao Soko » 05 Dec 2015, 10:01

bracans je napisao: mislim da to tvoje deca nije lepo niti kolegijalno, tehnika iza invertera ili frekvetnih regulatora nije naivna, a vidim da nista nisi doprineo temi pregrevanja i pothladjenja za koju mislim da pola majstora koje rade rashlad nema pojma i da je bitno pokrenuti tu temu i napisati nesto o njoj,
Nisam mislio nista lose. To je bila sala, ima onaj smajli iza. Napisao sam decu zbog toga sto se deca plase azdajama iz mraka ili ormana a kolega pominje zastrasujuci orman. Izvinjavam se ako se neko uvredio, nije mi bila namera da nekog podcejnujem,
Tehnika iza invertera naravno da nije naivna ali mi apsolutno nemamo veze sa pojedinostima tog dela. Mi samo mozemo da izmerimo ulazne signale koji dolaze do invertera (signale sa sondi pritiska, temperatura...) pa da ga u kompletu zamenimo ako ne daje odgovarajucu izlaznu vrednost. Zato ceo inverter iz ugla servisera rashladne tehnike mozemo da posmatramo kao jednu komponentu. Na primer, ni tehnika termoekspanzionog ventila nije naivna pa ga niko od nas ne otvara da mu meri snagu opruge, elasticnost meha ili potrosenost iglice u dizni.

sakisa88
_
_
Postovi: 57
Pridružen: 01 Dec 2015, 23:33
Location: Vrsac

Re: Pregrejanje i pothladjenje

Post napisao sakisa88 » 05 Dec 2015, 10:20

Pa da...uglavnom se tako i radi...sto se tice tih senzora, ako se ustanovi da je neispravan...menja se . Nike posto si ti ekspert u ovoj temi daj bre prekopiraj te ekspert teme ovde,da ojacamo ovu temu,da mi NE-eksperti naucimo nesto :-D :-D :-D

sakisa88
_
_
Postovi: 57
Pridružen: 01 Dec 2015, 23:33
Location: Vrsac

Re: Pregrejanje i pothladjenje

Post napisao sakisa88 » 05 Dec 2015, 10:37

Evo ga nesto....
Prilog
20151205_090748~2-1-1.jpg
20151205_091021~2-1.jpg
20151205_091007~2-1.jpg
20151205_091015~2-1.jpg

Avatar
bracans
bela tehnika
bela tehnika
Postovi: 459
Pridružen: 19 Apr 2014, 12:49
Location: Novi Sad
Specialty: whitegoods

Re: Pregrejanje i pothladjenje

Post napisao bracans » 05 Dec 2015, 11:09

Ekstra izgleda, srecan rad na njemu sakisa, novo je novo. :pivopije: Nemoj da ti ga kasape i prepravljaju na nas balkanski nacin.
Evo jedan mali video o Superheating (pregrejanje) i Subcooling (pothladjenje) https://www.youtube.com/watch?v=e6BuwQqjYDU moze da pomogne da bolje razumes te velicine i cisto je informativnog sadrzaja. :)
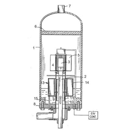
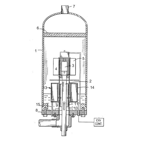
Economizer sistem koji ti imas patentirao je 1997 godine carrier a usavrsio york, obe kompanije ga montiraju u svoje chilere, i jako je zahtevan sto se tice automatike i kontrole. Dole sam stavio konstrukcionu sliku flash tanka, samo radi ilustracije, kao sto se kaze djavo lezi u detaljima.
Ne ljutim se samo kazem ziveli za sve nas forumase i da nam svima krene posao, radim u drzavnoj firmi za penziju a honorarno kao serviser gorenja :pivopije:
Volim kad moja bebana dok je hranim na bocicu na jednostavan nacin objasni nastanak svemira kad kine, odmah shvatim veliki prasak i nastanak mlecnog puta. :pereves:
Bas bi da vidim sta se pise u expert delu... :plaz:
Prilog
flash tank.jpg
Za moju svaštaru na googl pretrazi kucati moj electro cool blog.

Avatar
nike
gxu
gxu
Postovi: 2898
Pridružen: 21 Mar 2010, 11:35
Location: Split HR
Warranty service: Atosa Arisco Ozti Fimar Roller-Grill Systemair Fiocchetti Prismafood Cappone Hendi Omniwash Icetech ItalI-Ice
Contact person: NIKE
Specialty: whitegoods
Lokacija: Split, HR

Re: Pregrejanje i pothladjenje

Post napisao nike » 05 Dec 2015, 17:40

Zastrašujući elektro ormar je samo onaj bez sheme! :uca:
"Blago budalama, njima je lako jer ne misle tako!" PV

Avatar
Polaris
bela tehnika
bela tehnika
Postovi: 162
Pridružen: 26 Jul 2010, 12:15
Location: Vrsac
Warranty service: Gree, LG
Contact person: Srdjan Djokic

Re: Pregrejanje i pothladjenje

Post napisao Polaris » 05 Dec 2015, 19:04

Meni je u glavi, ali samo kao ideja, tj pitam se da li bi se mogla vrsiti kontrola pregrejanja preko pothladjivanja, bez oslanjanja samo na txv.

Avatar
nike
gxu
gxu
Postovi: 2898
Pridružen: 21 Mar 2010, 11:35
Location: Split HR
Warranty service: Atosa Arisco Ozti Fimar Roller-Grill Systemair Fiocchetti Prismafood Cappone Hendi Omniwash Icetech ItalI-Ice
Contact person: NIKE
Specialty: whitegoods
Lokacija: Split, HR

Re: Pregrejanje i pothladjenje

Post napisao nike » 05 Dec 2015, 19:10

Nije mi jasno to što želiš reći! Pojasni još malo!
"Blago budalama, njima je lako jer ne misle tako!" PV

Avatar
bracans
bela tehnika
bela tehnika
Postovi: 459
Pridružen: 19 Apr 2014, 12:49
Location: Novi Sad
Specialty: whitegoods

Re: Pregrejanje i pothladjenje

Post napisao bracans » 05 Dec 2015, 19:26

:pivopije: :)
Prilog
Bez naslova.png
Bez naslova1.jpg
Zadnja izmena: bracans, dana 05 Dec 2015, 19:31, ukupno menjano 1 put.
Za moju svaštaru na googl pretrazi kucati moj electro cool blog.

Avatar
Polaris
bela tehnika
bela tehnika
Postovi: 162
Pridružen: 26 Jul 2010, 12:15
Location: Vrsac
Warranty service: Gree, LG
Contact person: Srdjan Djokic

Re: Pregrejanje i pothladjenje

Post napisao Polaris » 05 Dec 2015, 19:27

Konstruisati takav isparivac sa bypass-nim vodom koji bi prvo pregrejanu paru vracao u kompresor, da bi se obezbedilo da sam isparivac bude maksimalno "ispunjen", a sa druge strane dobrom regulacijom kondenzacije, odnosno pothladjivanja, obezbediti potrebnu kolicinu tecnosti, a na osnovu temperature pare sa bypass-a.

Avatar
Polaris
bela tehnika
bela tehnika
Postovi: 162
Pridružen: 26 Jul 2010, 12:15
Location: Vrsac
Warranty service: Gree, LG
Contact person: Srdjan Djokic

Re: Pregrejanje i pothladjenje

Post napisao Polaris » 05 Dec 2015, 19:32

Razlog za to je sto mislim da postoji "prostor" da se povrsina isparivaca bolje iskoristi.

Avatar
nike
gxu
gxu
Postovi: 2898
Pridružen: 21 Mar 2010, 11:35
Location: Split HR
Warranty service: Atosa Arisco Ozti Fimar Roller-Grill Systemair Fiocchetti Prismafood Cappone Hendi Omniwash Icetech ItalI-Ice
Contact person: NIKE
Specialty: whitegoods
Lokacija: Split, HR

Re: Pregrejanje i pothladjenje

Post napisao nike » 05 Dec 2015, 19:47

Taj prostor je negdje 5% koliko je površina isparivača koja nije maksimalno iskorištena, ako je pregrjanje na TXV pravilno određeno i podešeno!

Najbolje bi bilo kad bi kompresor mogao kroz sebe bez posljedica provući dio tekućeg rashladnog sredstva. Onda bi i isparivač i kondenzator bili maksimalno iskorišteni. Ne bi bilo potrebe za pregrijanjem niti bi trebalo uklanjati senzibilnu toplinu nakon kompresije.
Eto, smisli kompresor koji može preživit tekućinu! lolzi
"Blago budalama, njima je lako jer ne misle tako!" PV

Avatar
bracans
bela tehnika
bela tehnika
Postovi: 459
Pridružen: 19 Apr 2014, 12:49
Location: Novi Sad
Specialty: whitegoods

Re: Pregrejanje i pothladjenje

Post napisao bracans » 05 Dec 2015, 20:09

isparivac i vraca paru u kompresor, ako je sve kako treba, stvarno ne razumem ideju, mislim da gore prikazani flash tank dobro snabdeva isparivac tekucinom posto bukvalno razdvaja tecnu i gasovitu fazu, samo trazi dobru regulaciju, gasovitu fazu vraca u kompresor tako da smanjuje radne pritiske kompresora.
Zadnja izmena: bracans, dana 05 Dec 2015, 20:24, ukupno menjano 3 puta.
Za moju svaštaru na googl pretrazi kucati moj electro cool blog.

Avatar
goranfri
bela tehnika
bela tehnika
Postovi: 1581
Pridružen: 02 Sep 2008, 01:16
Location: Beograd
Warranty service: Icematic Simag Scotsman LaSanMarco Brema LaCimbali Joly
Manitowoc
Specialty: whitegoods
Lokacija: Beograd

Re: Pregrejanje i pothladjenje

Post napisao goranfri » 05 Dec 2015, 21:41

Naravno da je tako , svaki čovek koji ima 100 kg i više je pravi čovek i nikada ne laže .

:lala:

Avatar
frigoservisbata
bela tehnika
bela tehnika
Postovi: 486
Pridružen: 11 Jun 2009, 14:42
Location: Vrsac

Re: Pregrejanje i pothladjenje

Post napisao frigoservisbata » 05 Dec 2015, 22:06

Ma sta ce nam to pregrejanje i podhladjivanje kad se zna da se klime pune na 4-5 bara....Sta ce nam seme u ormanima kad se sve to moze resiti peske itd...Al sam raspolozen danas.... :lol:
Evo malo ko hoce da jos nesto nauci..

Kod: Označi sve

http://www.danfoss.com/Croatia/BusinessAreas/Refrigeration+and+Air+Conditioning/EducationAndTraining/FittersNotes.htm

Kod: Označi sve

https://youtu.be/uXoZtf2H-jE
Bolje je biti malo lud, nego malo pametan.

Avatar
Polaris
bela tehnika
bela tehnika
Postovi: 162
Pridružen: 26 Jul 2010, 12:15
Location: Vrsac
Warranty service: Gree, LG
Contact person: Srdjan Djokic

Re: Pregrejanje i pothladjenje

Post napisao Polaris » 05 Dec 2015, 22:51

slika

Screenshot sa sajta jednog "ovlascenog" servisera.

sakisa88
_
_
Postovi: 57
Pridružen: 01 Dec 2015, 23:33
Location: Vrsac

Re: Pregrejanje i pothladjenje

Post napisao sakisa88 » 05 Dec 2015, 23:07

Uuuu...al su strucnjaci....Pa tako se laze narod. :-D :-D :-D

@bane@
bela tehnika
bela tehnika
Postovi: 60
Pridružen: 21 Okt 2012, 23:01
Location: Novi Sad
Contact person: Branislav Djokic
Specialty: whitegoods
Kontakt:

Re: Pregrejanje i pothladjenje

Post napisao @bane@ » 05 Dec 2015, 23:31

Bitno je samo da su oni Ovlasćeni :oklagija

Avatar
bracans
bela tehnika
bela tehnika
Postovi: 459
Pridružen: 19 Apr 2014, 12:49
Location: Novi Sad
Specialty: whitegoods

Re: Pregrejanje i pothladjenje

Post napisao bracans » 06 Dec 2015, 10:19

Slican problem imamo sa auto klimama. Ljudi odlaze kod majstora opremljenih samo manometrom, i tako, leta prolaze.
Ja se ne bih opterecivao takvim servisima, vazno je ono kako ja radim, i gledam da bude posteno, ljudi to prepoznaju i vracaju se, ipak sebi mogu dozvoliti luksuz da budem posten u ovoj zemlji posto imam drzavni posao, ne zavidim bas privatnim servisima bele tehnike, mali bazen, puno ajkula, kad smo kod toga, kako otvoriti servis kao dopunski posao? Ipak bi da udjem u legalne tokove a ima zainteresovanih trgovaca bele tehnike kojima je potreban servis.
Kod mene protivpozarna inspekcija kad dodje u firmu trazi seme elektro ormana, tako da o semama ormana ne bih komentarisao, posto su po zakonu OBAVEZNE.

U petak su me u firmi proglasili mrtvim.
Popravljao u stacionaru pacijentu krevet koji se podesava na struju, elektro ormarce se nalazi ispod, ja legao na pod (samo mi noge vire) i popravljam kad ce ti medicinska sestra sa vrata LJUDI POMAGAJTE UMRO COVEK PORED KREVETA.
lolzi
Za moju svaštaru na googl pretrazi kucati moj electro cool blog.

Avatar
Polaris
bela tehnika
bela tehnika
Postovi: 162
Pridružen: 26 Jul 2010, 12:15
Location: Vrsac
Warranty service: Gree, LG
Contact person: Srdjan Djokic

Re: Pregrejanje i pothladjenje

Post napisao Polaris » 06 Dec 2015, 11:21

Da, kad si vec spomenuo auto klime..jedan veoma zanimljiv video:
http://www.youtube.com/watch?v=wPeoTPClkjA

Odgovori

Natrag na “KLIMA UREĐAJI”